|
Концевые кабельные муфты ESU предназначены для непосредственного ввода кабелей с изоляцией из полимерных материалов в маслонаполненное оборудование. Поставляются в вертикальном, горизонтальном и перевернутом исполнении для напряжения от 72,5 кВ до 170 кВ.
Конструкция: Изолятор: литьевая смола Управляющая часть (стресс-конус): силикон Юбки: силикон
Соединение проводников: прессование или резьбовое соединение
Дополнительные принадлежности: Адаптационный фланец, экранирующий электрод
Примечание: Горизонтальное исполнение поставляется с расширительным баком. Перевернутое исполнение поставляется по запросу. Дополнительные принадлежности не входят в объем поставки и в случае необходимости заказываются отдельно.
| Модель |
Поперечное сечение проводника (кв.мм) |
Наружный диаметр кабельной изоляции (подготов.) (мм) |
Вес нетто, (кг) |
Максимальный наружный диаметр кабеля (мм) |
| ESU123-H(1)
ESU123-V(2) |
150 — 2000 150 — 2500 150 — 2000 150 — 2500
|
46 — 99 84 — 110 46 — 99 84 — 110
|
~78 ~86 ~72 ~80
|
120 170 120 170
|
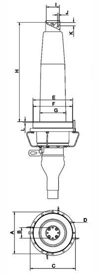
Размеры
| Модель |
A |
B |
C |
D |
E |
F |
G |
H |
I |
J |
K |
L |
ESU123-H(1) ESU123-V(2) |
320 320 320 320
|
80 ± 0,3 80 ± 0,3 80 ± 0,3 80 ± 0,3
|
345 345 345 345
|
12 x 13,5 12 x 13,5 12 x 13,5 12 x 13,5
|
303 303 303 303
|
298 ± 0,3 298 ± 0,3 298 ± 0,3 298 ± 0,3
|
200 215 200 215
|
757 ± 1 757 ± 1 757 ± 1 757 ± 1
|
100 100 100 100
|
4 x M10 4 x M10 4 x M10 4 x M10
|
24 24 24 24
|
7 7 7 7
|
Макс. рабочее напряжение Um (кВ) 123 Методика проведения испытаний (стандарт) IEC60840, EN50299 Номинальное напряжение U (кВ) 110 — 115 Номинальное предельное импульсное напряжение (молниевый ударный разряд) (кВ) 550 Измерение частичного разряда (пКл) <5
Концевые муфты ESU 72 на напряжение 72,5 кВ Концевые муфты ESU 123 на напряжение 123 кВ Концевые муфты ESU 145 на напряжение 145 кВ Концевые муфты ESU 170 на напряжение 170 кВ
|
 Концевые кабельные муфты IXOSIL ESU123-H(1)
 Концевые кабельные муфты IXOSIL ESU123-V(2)
 Соединительные элементы IXOSIL для трансформаторов и РУ с газовой изоляцией ESU 123
|